EXPERIENCE DESIGN/INTERACTION DESIGN
boeing
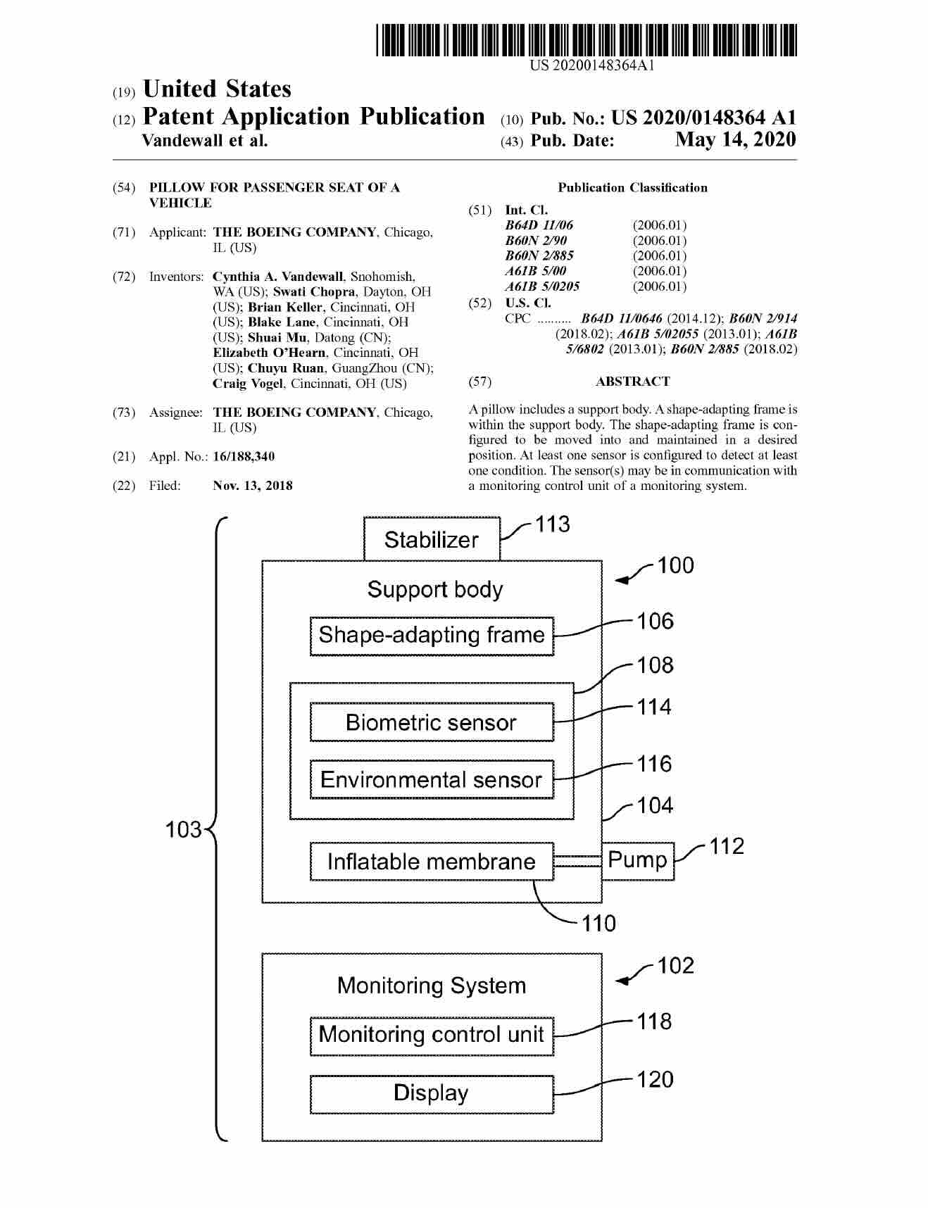
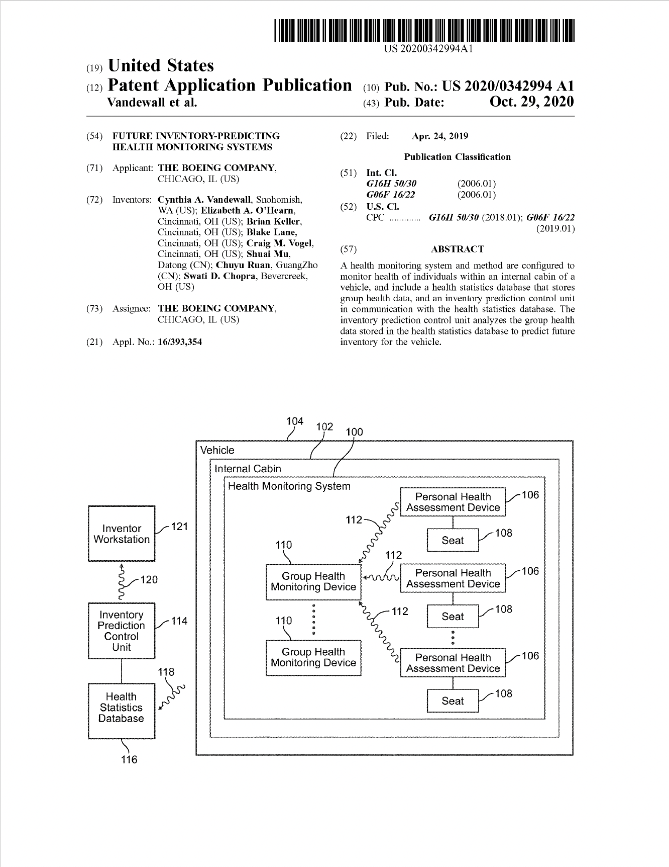
i led visual, experiential, and product design on a cross-functional aviation team to reimagine the passenger journey. partnering with human-factors specialists, airline operations, engineers, and product designers, i translated research and prototyping into supplier-ready, manufacturable specifications that balanced brand experience, ergonomics, and strict faa/far requirements. the work moved from concept to cabin—with clear spec packs, build details, and validation tools—and resulted in 10+ boeing design patent filings, seven granted to me as co-inventor. responsibilities for this project included providing communication/ experience/ service design expertise to the team of engineers and industrial designers working on future generation design solutions in the field of aviation.
More info/designs will be posted soon upon approval from the boeing company.










